事事明精细化管理系统,助力尾矿库汛期安全防范工作

2023-11-08 事事明 阅读 869

近期,尾矿库环境应急管理的形势严峻,因尾矿库引发的突发环境事件高发。为深刻吸取国内外尾矿库溃坝事故教训,国务院制定了《防范化解尾矿库安全风险工作方案》(以下简称《防范风险方案》)。

 

《防范风险方案》在重点工作中指出:

1.严格落实企业主体责任:尾矿库企业法定代表人和实际控制人同为本企业防范化解安全风险第一责任人,对防范化解安全风险工作全面负责。

2.强化尾矿库安全风险动态评估:制定有针对性的安全风险管控措施,编制安全风险管控方案,明确落实各项管控措施的责任部门和责任人。

3.确保安全风险管控措施有效实施,确保尾矿库安全风险始终处于受控状态。尽量降低库内水位,确保尾矿库干滩长度、安全超高、调洪库容、浸润线埋深等主要运行参数及排洪系统始终满足设计要求。

4.进一步建立完善安全风险分级监管机制,明确每一座尾矿库的监管责任主体。

 

1699408861158076.png


目前国内的尾矿库管理形势严峻,特别是今年汛期提前。一方面,我国部分企业尾矿库管理粗放,大多数尾矿库地处偏远,未经过正规设计,工艺落后,风险防范措施很难到位;另一方面,国内大部分矿企的环境应急管理工作整体起步较晚,难以与新时期环境形势发展的要求相适应。这对于部分企业来说,贯彻落实国家安全生产应急救援中心的要求,达到《防范化解尾矿库安全风险工作方案》的工作标准,还存在一定的进步空间。

 

加强尾矿库安全应急管理工作,已经成为企业遏制并妥善应对突发环境事件的迫切需要。那么针对尾矿库安全应急管理工作的重要性、紧迫性和长期性,企业该如何在已有工作的基础上,将尾矿库管理精细化,做好尾矿库安全管理工作?有哪些好的尾矿库管理经验值得借鉴呢?

 

1699408883152290.png


下面我们看看某矿业公司,引进“事事明精细化管理系统”后,如何将尾矿库管理做到安全又放心的?


一、落实企业岗位责任制:事事明人员派工管理


事事明精细化管理系统一改传统纸质表单“种类杂”“记录乱”“内容不方便核实”的弱点,将企业核心业务流程使用电子表单进行记录统计,实现了生产型企业的定人、定岗、定表单、定频率。

 

首先,事事明精细化管理系统帮助企业梳理出不同岗位、不同员工业务流程(现场安全和质量、尾矿库记录和治理等)巡检记录单的种类和频次。以及尾矿库的管理过程中不同场景、不同设备设施、每周应该使用的巡检单和巡检次数、巡检任务执行周期等基本信息。

 

管理人员根据企业相关任务以及岗位需求,在事事明系统内给相关工作人员发布电子表单:任务分派单。在表单内,企业管理人员可以设定相关人员在某个特定时间去特定项目的某个设施或作业面去巡检,并按规定的表单采集现场数据。一旦设置好,系统可以以年、月、周为频次周期,设置固定日期,事事明系统以相应周期的固定日期为频次发出“任务分派单”。如下图为事事明工作人员帮助某企业梳理的选矿车间设备检查表单,表格中明确规定检查频次和执行人,帮助企业落实岗位责任制,图二为选矿厂厂长和尾矿库管理员每月需要填写的工作表单及其对应频次。员工工作痕迹全程记录,现场工作更加清晰明了。


1699408942947003.png

1699408961212777.png

人员派工管理:为企业管理者以及一线员工减少没必要的重复性工作,梳理业务的同时,提高企业的运营效率。如下图为某个矿区尾矿库定时任务明细表(部分),尾矿库排水井检查任务、尾矿库防汛物资检查任务、尾矿库回水设施检查任务等电子表单,与尾矿库管理相关的业务企业均可以根据自身管理情况,在事事明系统内进行电子表单设置,比如发布时间、执行人员、执行时间、执行周期等设置,并在所定的期限内,系统会自动将任务发布到相关任务执行人。

 

1699408983164536.png


如下图为某选厂办公室的定时任务明细表,其中执行人、部门角色、需要完成的工作(需要执行的表单)、重复发布时间及截止发布时间,企业均可以在事事明系统内进行设置。


1699409013204080.png

1699409034207309.png

 

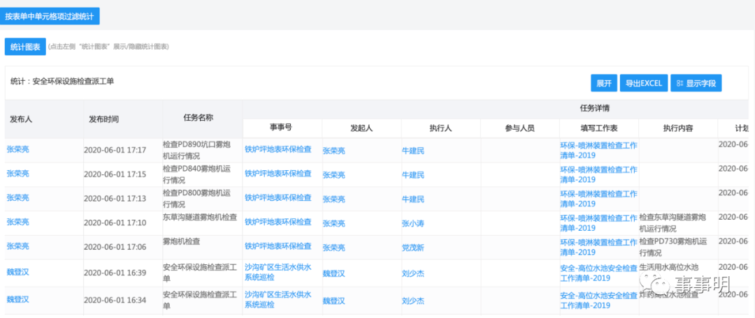
对于已经发布的任务分派单,事事明精细化管理系统支持任务分派单统计功能(如下图),相较于传统的纸质表单,事事明电子表单可以帮助企业管理者根据相关发布人或者执行人进行搜索统计,使相关管理人员随时随地都可以通过手机查看尾矿库的各个作业面的实时情况,同时管理人员可以在事事明系统内对相关任务进行评价和实时指导,真正帮助企业管理人员做到运筹帷幄于千里之外。


1699409059154213.png


1699409081152203.png

 

二、事事明风险分级管控+预警分级通知:解决尾矿库安全管理问题的最后一公里


为了更好的帮助企业进行尾矿库管理工作,使企业的双重预防机制工作符合应急管理要求,从源头上遏制尾矿库隐患的发生,事事明电子表单同时具备风险分级管控以及预警分级功能,帮助企业辨识影响尾矿库安全的有害因素、评价其风险程度,确定风险等级,明确管控层级,并对风险进行有效的控制,最终降低尾矿库风险,杜绝或减少隐患,降低尾矿库安全事故的发生。


1699409104118107.png

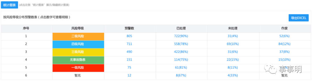
事事明系统支持企业对风险进行“分级管控”。在事事明系统内,企业可以根据实际工作过程中可能会遇到的风险建立“风险源库”,企业将”风险源“根据已梳理的风险台账导入到事事明系统,并根据风险的危害性自定义设置风险等级以及颜色标识,根据风险的不同级别设置管控责任主体,同时企业可以根据预警中风险等级设置预警通知人(企业可以自由设置第一级至第四级预警通知人)。如下图图一,为某矿企的风险分级管控,企业可以将实际业务过程中的隐患按照危害性进行分级,并根据风险等级设置相关责任人员。在统计数据中可以看到风险处理的数量,已经处理以及未处理的风险,点击数字可以查看每项数据的详细信息,如图二。如此事事明系统的风险分级管控功能,进一步建立完善安全风险分级监管机制,使企业业务更清晰的同时,落实企业安全责任制。


1699409138103169.png

图一

1699409173262449.png

 图二

抑制安全生产风险,最大的降低风险发生几率,需要找到业务中的薄弱环节,从源头上遏制风险发生的可能。事事精细化管理系统,针对事故多发的尾矿库管理,为企业提供自动预警服务。企业可以根据自身业务需求,在表格内设定预警项,即当一线员工在进行工作操作并填写任务分派单时,根据工作表检查项,系统会自动关联相应的风险源,风险等级,管控措施等相关信息。一旦填入工作表内的信息与预设内容不同,就会触发预警,通知相关预警责任人。直至隐患排查完成,预警才会消失。

 

下表图一为某矿企在事事明系统内设置的尾矿库在线监控设备巡检工作表,其中明确规定此尾矿库每周巡检次数、责任人、监督管理人、阅读考核人等详细信息,使业务过程的每一步都清晰透明,落实岗位责任制。图二为某矿区带有预警信息的尾矿库电子表单,一旦出现隐患预警,系统即通知相关人员去处理,直至处理完成,预警消失,形成风险处理闭环,从源头上抑制风险发生。


1699409208165337.png

图一

1699409253132164.png

图二

▼三、信息跨层级传递,事事明电子表单使尾矿库安全风险始终可控:尾矿库在线监控系统巡检


实现尾矿库的安全风险始终可控,企业不仅需要落实岗位责任制、实现风险分级管控和隐患排查治理,更需要做到信息跨层级传递和即时沟通。

 

事事明精细化管理系统不仅支持企业内部人员跨层级沟通,企业的管理人员与生产人员、企业各部门之间业务、企业与第三方合作伙伴或外包伙伴之间均可实现在系统内的高效交流。

1699409289169064.png


从源头上遏制风险,到业务流程的预警监督,最终信息跨层级传递和即时沟通确保出现隐患第一时间处理以降低企业的损失。事事明精细化管理系统帮助企业实现尾矿库管理的闭环。

 

下图一为某矿区选厂尾矿库的日常巡检工作,每日当班的尾矿工对尾矿库进行日常巡检工作,并用事事明电子表单进行日常工作的记录。如图二,根据该企业的设置,该工作人员需要在巡检时进行拍照记录现场的实时情况,上传的照片必须由事事明APP进行现场拍摄,拍摄的照片自动附上人员、地点、时间的水印(如下图三),确保照片的真实性。


1699409398202485.png

图一

1699409433373728.png

图二

1699409462158236.jpeg

图三


企业可以根据业务需要,进行查看权限设置。如下图,尾矿工的上级可以查看他的日常工作内容,并随时进行指导监督,使一线员工的工作更认真,操作更规范。

 

1699409500171313.png

1699409523100313.png

1699409546201830.png

加强尾矿库环境应急管理工作是企业遏制并妥善应对突发环境事件的迫切需要,企业要正视尾矿库环境应急管理工作面临的问题和挑战,充分认识尾矿库环境应急管理工作的重要性、紧迫性和长期性,在已有工作的基础上,进一步打开尾矿库应急管理工作新局面。

 

各矿企尾矿库的环境、安全管理工作责任重大,任务艰巨,事事明精细化管理系统一直以来都致力于解决矿企安全生产过程中遇到的安全问题。帮助生产型企业实现数字化转型,解决矿山安全管理的核心问题,赋能企业管理,让企业实现降本增效的长期目标。


获取更多使用方法,请关注我们的公众号及视频号。
如有任何疑问,请联系我们!

往期回顾
安全生产事事明,助企业消除事故隐患,筑牢安全防线
高效巡检,精准记录!智能化设备定巡检的首选解决方案!


1699410886130991.png

在线咨询

咨询在线QQ客服

电话咨询

服务热线 17610202756

微信咨询

微信扫一扫,咨询没烦恼

返回顶部